Frage:
Was ist bei der Auslegung und Absicherung eines 9400 Multi-Drive-Verbundes über das 100 A-Stromschienensystem zu beachten?
Antwort:
Multi Drives 9400 werden über ein Stromschienensystem DC-seitig miteinander verbunden, so dass zwischen den Geräten ein Energieaustausch stattfinden kann. Die Netzeinspeisung für den Antriebsverbund erfolgt dabei üblicher Weise zentral über ein 9400 Versorgungsmodul, das direkt mit dem Stromschienensystem verbunden wird. Alternativ kann der Verbund auch von einer beliebigen DC-Quelle versorgt werden. Die Anschlussleitungen der DC-Quelle werden dann über eine DC-Einspeisestelle mit dem Stromschienensystem verbunden.
Die Stromschienen, die Stromschienen-Ausgänge der 9400 Versorgungsmodule und ggf. die DC-Einspeisestellen sind jeweils für eine Effektivstromstärke vom 100 A ausgelegt.
Überlastschutz:
Die 9400 DC-Einspeisestellen und die Stromschienen haben eine Bemessungsstromstärke von 100 A. Betriebsmäßig darf dieser Wert nicht dauerhaft überschritten werden, um Überlastung und resultierende Schädigungen zu vermeiden.
Der Anlagenprojekteur muss durch entsprechende Auslegung der Antriebe im DC-Verbund und ggf. deren Leistungsbedarfsprofilen dafür sorgen, dass der Summenstrom über die Einspeisestelle und über die Stromschienen in allen Betriebszuständen nicht zur Überlastung führt.
Der Überlastschutz des gesamten Antriebsverbundes erfolgt i. d. R. über die Netzsicherungen in der Netzeinspeisung.
Kurzschluss- und Erdschlussschutz:
Die Montagesockel der Multi-Drive-Geräte und die Stromschienenanschlüsse der Versorgungsmodule enthalten jeweils eine DC-Sicherung für den +UG-Anschluss. Diese DC-Sicherungen sind nur dazu vorgesehen, ggf. größere Schäden an weiteren Komponenten zu minimieren, wenn im DC-Verbund ein Kurzschluss auftreten sollte.
Bei bestimmten Anwendungsfällen kann es gewünscht sein, dass bei einem Defekt nur der betroffene Antriebsregler durch Auslösen der DC-Sicherung vom Verbund getrennt wird und die anderen ggf. weiter laufen können.
Zur Absicherung der Leitungen und Komponenten vor Überlastung, wenn also tatsächlich dauerhaft eine zu hohe Leistung mit entsprechend überhöhter Strombelastung abgefordert würde, sind diese DC-Sicherungen nicht ausgelegt.
Das Stromschienensystem selbst gilt als Kurzschluss- und Erdschluss-sicher (siehe Glossar: Dok-ID
202300041), insofern könnte in diesem 9400 Multiachs-DC-Verbund auch gänzlich auf DC-Sicherungen für den Kurzschlussfall verzichtet werden, wenn der Leitungsschutz, wie üblich, durch die Netzsicherungen gewährleistet wird.
Hinweis zum Anschluss der DC-Einspeisstellen:
Die oben und unten an den DC-Einspeisestellen vorhandenen Anschlussklemmen sind
nicht zum Durchschleifen des DC-Busses für weitere DC-Schienensysteme vorgesehen. Die Klemmen sind für den komfortablen Anschluss, alternativ von oben oder von unten, vorgesehen, je nach Anordnung der Schaltschrankinstallation.
Ein Durchschleifen ist im Einzelfall möglich, wenn dabei der Bemessungstrom von 100 A nicht überschritten wird.
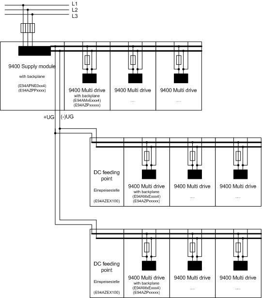
Mehrere Multiachs-Verbünde mit DC-Einspeisestelle an einem leistungsstarken 9400 Versorgungsmodul:
Es besteht, falls erforderlich, auch die Möglichkeit mehrere separate 9400 Multiachs-Verbünde (jeweils mit eigener Stromschiene) parallel an ein entsprechend leistungsstarkes 9400 Versorgungsmodul anzuschließen, siehe Abbildung. Die Parallelschaltung der Multiachs-Verbünde erfolgt mittels Verkabelung über die Anschlussklemmen der DC-Einspeisestellen, die jeweils auf der linken Seite jeder Stromschiene montiert werden.
Die Verkabelung zwischen 9400 Versorgungsmodul und den DC-Einspeisestellen der Multiachs-Verbünde ist wiederum Kurzschluss- und Erdschluss-sicher (siehe Glossar: Dok-ID
202300041) auszuführen.
