Frage:
Wie kann die Antriebsperformance verbessert werden, z. B. Erhöhung der Taktzahl, Minimierung des Schleppfehlers?
Antwort:
Wenn für den Antrieb hohe dynamische Eigenschaften gefordert sind, z. B. in hoch taktenden Vorschubanwendungen, Fliegenden Sägen usw., ist häufig die notwendige Genauigkeit über den Bewegungsverlauf nur schwer einzuhalten.
Die Probleme zeigen sich vor allem während der Inbetriebnahme der Anwendung. Durch die Optimierung der Regelparameter sind lastabhängig und geschwindigkeitsabhängig auftretende Schleppfehler zu beseitigen, oder zumindest zu minimieren.
Eine deutliche Verbesserung im Führungsverhalten des Antriebes ergibt sich durch den direkten Zugriff auf den Drehmomentsollwert.
Die Motorregelung kann über den Eingang MCTRL-M-ADD parallel zu Drehzahl- und Lageregelung mit einer Drehmomentvorsteuerung beaufschlagt werden.
Mit einer geeigneten M-Vorsteuerung werden Verzögerungszeiten über den Zyklus der überlagerten Regelkreise auf die Drehmomentregelung ausgeschaltet. Die Lage- und Drehzahlabweichungen werden kleiner, die Regelkreise können 'härter' parametriert werden.
Die Servo-Kurvenscheibe 9300 bietet die Möglichkeit, eine Kennlinie in die Konfiguration zu implementieren. Mit der Drehmomentvorsteuerung über die Kennlinie können Änderungen der Last sowohl geschwindigkeitsabhängig wie auch abhängig von der Mechanik der Maschine kompensiert werden.
Die M-Vorsteuerung kann an das Bewegungsprofil einer Kurvenscheibe gekoppelt sein (2. Ableitung der Kurve), oder in Standard-Servo-Anwendungen mit gleichförmiger Geschwindigeit am Antrieb eine nicht lineare Last kompensieren, z. B. einen nachgeschalteten Kurbelantrieb.
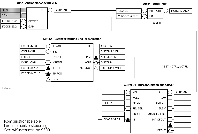
In der angehängten Abbildung ist ein einfaches Anwendungsbeispiel für die Konfiguration einer M-Vorsteuerung auf eine Kurvenscheibe dargestellt. Die Kennlinie wird im Funktionsblock CURVEC verarbeitet und läuft parallel zur Kurvenscheibe (CDATA). In der Kennlinie findet sich der Soll-Drehmomentverlauf des Antriebes wieder. Der Einfluß der Kennlinie auf den Drehmomentsollwert ist über einen Bewertungsfaktor (FB ARIT1) einzustellen. In der Abbildung erfolgt beispielhaft eine Bewertung über den Analogeingang des Gerätes. Hier kann z. B. die Maschinengeschwindigkeit zugrunde gelegt werden.
Die Kennlinie ist in Analogie zum Bewegungsprofil für den Antriebsregler zu erzeugen, z. B. mit GDC, CamDesigner oder externen Tools.
Nähere Informationen zur Kurvenerzeugung sind der Produktdokumentation zur Servo-Kurvenscheibe 9300 zu entnehmen.
