Frage:
Wie lässt sich eine Positionier-Funktion in der Servo-Kurvenscheibe 9300EK realisieren?
Antwort:
In Applikationen mit Kurvenantrieben wird häufig, z. B. zum Einrichten des Antriebes oder als Überlagerung zum Bewegungsprofil, eine Positionierfunktion benötigt.
In den Firmware-Versionen ab V2.x stehen Profilgeneratoren in Form der Funktionsblöcke (FB) RFGPH2 und RFGPH3 zur Verfügung, um eine einfache Positionierfunktion aufgrund einer angelegten Lagedifferenz zu realisieren.
Die detaillierte Funktionsweise der Funktionsblöcke RFGPH2 und RFGPH3 ist im Systemhandbuch zur Servo-Kurvenscheibe 9300EK beschrieben.
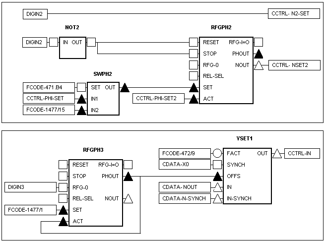
Die Funktionsblockschaltungen in den unten dargestellten Abbildungen zeigen ein Anwendungsbeispiel für eine
ablösende Positionierung und ein Beispiel für eine
überlagerte Positionierung zur Kurvenscheibe.
Ablösende Positionierung:
Die Positionierung, abgelöst von der Kurve über den Funktionsblock RFGPH2, ist durch die zusätzliche Steuerung über den Funktionsblock CCTRL zu realisieren.
Die Funktion findet ihre Anwendung z. B. beim Einrichten, Rüsten, Reinigen einer Maschine oder eines Maschinenmoduls.
- Der Antrieb wird unter Beibehaltung der Zuordnung zum Kurventakt von der Kurve getrennt (im Beispiel über den Digitaleingang E2).
- Die Sollposition der Kurve steht im Funktionsblock CCTRL auch während der Positionierung weiter zur Verfügung (Signalausgang CCTRL-PHI-SET).
- Alternativ kann die von der Kurve abgelöste Position vorgegeben werden (im Beispiel über die freie Codestelle C1477/015 in [s_units]).
- Der Antrieb kann über die im Funktionsblock RFGPH2 eingestellten Rampen und Geschwindigkeiten auf die Sollposition der Kurve zurück positioniert werden.
Die Funktion eignet sich auch dazu, den Antrieb auf ein Steuersignal hin von der Kurvenposition zu lösen und in eine sichere Position außerhalb des Bewegungsbereiches der Kurve zu bringen.
Überlagerte Positionierung:
Die Positionierung, überlagert zum Bewegungsprofil im Beispiel über den Funktionsblock RFGPH3 realisiert, kann direkt durch die Anbindung eines Winkeloffsets an den Funktionsblock YSET1 umgesetzt werden. Der Winkeloffset wird über die Rampenfunktion RFGPH3 verschliffen.
Die Funktion findet ihre Anwendung z. B. beim Einrichten/Handfahren, Referenzieren, Trimmen der Achse in einer Maschine oder einem Maschinenmodul.
- Die Positionierung des Winkeloffsets (im Beispiel die freie Codestelle C1477/001) wirkt additiv zum laufenden Bewegungsprofil.
- Im abgebildeten Beispiel erfolgt ein Zuschalten und Abschalten über den digitalen Eingang E3.
- Kurvenbewegung und Positionierung werden über die eingestellten Rampen am Antrieb überlagert.
- Der Winkeloffset erzeugt eine Verschiebung des Bewegungsprofils in Bezug auf die Mechanik der Maschine (y-Achse).
