Torque precontrol by means of a characteristic

Question:
How can the drive performance be improved, e. g. increased number of pulses, minimized following error?

Answer:
When the drive requires high dynamic features, e. g. in high-clocking feed application, flying saws etc., the required precision of the motion sequence is difficult to observe.
The problems mainly occur during commissioning of the application. Due to the optimisation of the control parameters, load-dependent and speed-dependent occurring following errors are to be eliminated (at least minimized).

A clear improvement of the drive's response to setpoint changes results from the direct access to the torque setpoint. The motor control can receive a torque precontrol via the input MCTRL-M-ADD in parallel to the speed and position control.

By means of a suitable M-precontrol deceleration times are switched off via the cycle of the superimposed closed-loop circuits. The position and speed deviations increase, the closed-loop circuits can be parameterized more tightened.

The 9300 servo cam offers the possibility to implement a characteristic in the configuration. By means of the torque precontrol via the characteristic, modifications of the load can be compensated speed-dependent, as well as dependent on the machine's mechanics.

The M-precontrol can be coupled to the cam's motion profile (second derivation of the curve) or can compensate a non-linear load in case of standard servo applications with continuous speed, e. g. a series-connected crank drive.

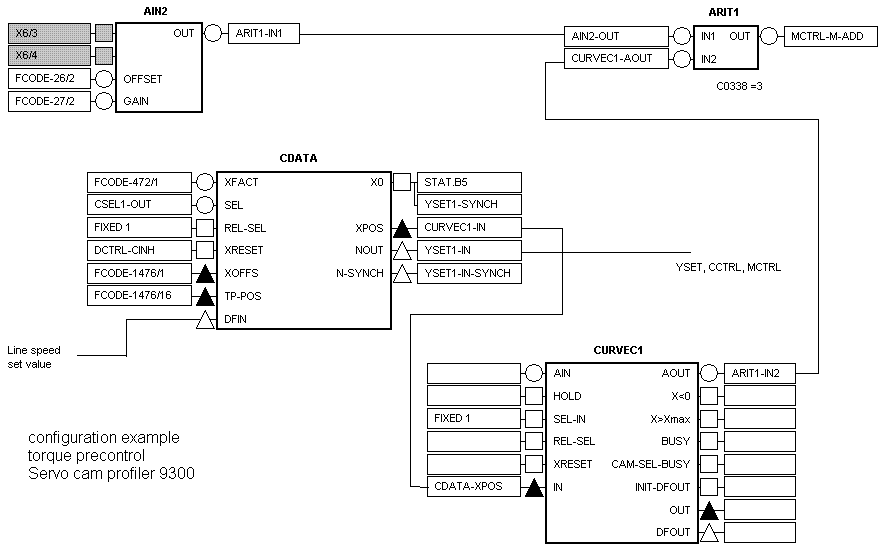
The attached sketch shows a simple application example for the configuration of a cam's M-precontrol. The characteristic - in parallel to the cam (CDATA) - is processed in the function block CURVEC. The characteristic shows the set torque sequence of the drive. The influence of the characteristic on the torque setpoint is to be set by means of a weighting factor (FB ARIT1). In the sketch a weighting is made via the analog input as an example. The base can be e. g. the machine speed.

The characteristic is to be generated for the drive controller analogous to the motion profile, e. g. with GDC, CamDesigner or external tools. Further information about the cam generation can be taken from the product documentation of the 9300 servo cam.

URL for linking this AKB article: https://www.lenze.com/en-de/go/akb/200501612/1/
Contact form